ghế học sinh BHS20, GHS20" name="Bàn ghế học sinh BHS20, GHS20" title="Bàn ghế học sinh BHS20, GHS20">Bàn ghế học sinh BHS20, GHS20 dành cho học sinh cấp 1-2, phù hợp với góc học tập tại nhà, có chân tăng chỉnh chiều cao phù hợp với vóc dáng trẻ, giúp phòng tránh các bệnh học đường như: cận thị, cong vẹo cột sống.
Nội thất Phúc Thịnh Phát chuyên trang phân phối sỉ & lẻ bàn ghế học sinh gia đình, sản phẩm chính hãng, nguyên đai, nguyên kiện. Bàn ghế học sinh BHS20, GHS20 dành cho học sinh cấp 1-2, giá thành rẻ, độ bền chắc cao. Khi mua bàn ghế học sinh, khách hàng sẽ được tư vấn, hỗ trợ giao hàng lắp đặt tận nơi hoặc hướng dẫn cách lắp đặt để cùng trẻ.
Danh sách phụ kiện đồng bộ sản phẩm bộ bàn ghế học sinh gia đình BHS20, GHS20
|
Mục |
Phụ Kiện |
Hình ảnh |
Số Lượng |
Mục |
Phụ Kiện |
Hình ảnh |
Số Lượng |
|
1 |
Tăng chân M8x20 |
|
08 |
5 |
Tăng chỉnh M6x20 |
|
02 |
|
2 |
Lục giác M6x52 |
|
08 |
6 |
Lục giác M6x37 |
|
04 |
|
3 |
Tai hồng M8x30 |
|
04 |
7 |
Lục giác M6x15 |
|
04 |
|
4 |
Lục giác M6x25 |
|
12 |
8 |
Chìa lục giác |
|
01 |
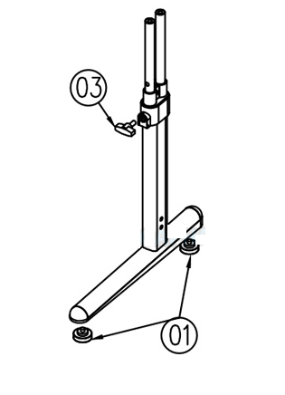
Bước 1: Theo (Hình 1)
- Lắp T/chân 01 vào hết ren thì dừng lại
- Lắp tai hồng 03 vào vị trí đai ốc

Bước 2: Theo (Hình 2)
- Lắp khung giằng tròng và chữ nhật dài bằng vít 02, 03
- Lắp vít 02, 03 lỏng tay rồi căn chỉnh khung bàn cân đối trước khi xiết chặt

Bước 3: Theo (Hình 3)
- Lắp thanh đỡ ngăn bàn vào trước sau đó đặt ngăn bàn vào và bắt bằng vít 06
- Điều chỉnh độ nghiêng ke đỡ bàn bằng vít 05

Bước 4: Theo (Hình 4)
- Lắp mặt bàn vào khung bằng vít 07

Bước 1: theo (Hình 5)
- Lắp T/chân 01 vào hết ren thì dừng lại
- Lắp tai hồng vào vị trí đai ốc

Bước 2: Theo (Hình 6)
- Lắp khung giằng tròng và chữ nhật dài bằng vít 02, 03
- Lắp vít 02, 03 lỏng tay rồi căn chỉnh khung bàn cân đối trước khi xiết chặt

Bước 3: Theo (Hình 7)
- Lắp mặt ghế và tựa ghế bằng vít 04
- Trước tiên ghá các vít vào vị trí, chỉnh cân đối đệm tựa rồi xiết chặt
Chú ý: không nên xiết chặt thêm khi vít không thể vào được nữa

Chú ý:
- Tăng chỉnh độ nghiêng mặt bàn bằng vít 05
- Tăng chỉnh cao bàn và ghế bằng tai hồng 03
- Chỉnh bàn ghế cập kênh bằng tăng chỉnh 01

Nội thất Phúc Thịnh Phát là đại lý chuyên cung cấp bàn ghế học sinh gia đình chính hãng Hòa Phát, Xuân Hòa. Tại showrom có hơn 5 mẫu bàn ghế đẹp, thịnh hành nhất hiện nay, khách hàng có nhu cầu tham khảo hoặc liên hệ 0939.695.569 để được tư vấn nhé!
>> GỌI ĐẶT HÀNG:
TP Hồ Chí Minh: 02866.513.888 - 0901.356.186 - 0901007889
Liên hệ
Liên hệ
Liên hệ
Liên hệ
Liên hệ
Liên hệ
Liên hệ
Liên hệ
Liên hệ
Liên hệ
MST: 0313487247
Showroom & văn phòng:
232 Nơ Trang Long, phường 12, Q. Bình Thạnh, Tp.HCM
Hotline: 02866513888 - 0901 356 186 - 098 100 2488
Email: hoaphatmiennam123@gmail.com
(Với kinh nghiệm gần 20 năm trong nghề sản xuất nội thất)
KHO NỘI THẤT HÒA PHÁT TẠI TP HỒ CHÍ MINH
Địa chỉ: Nhà máy KCN Đại Đăng, Bình Dương
Điện thoại: 0939 695 569 - Email: tongkhonoithathcm@gmail.com